LSU Physicist Patents Wearable Device to Protect Doctors Who Use X-rays

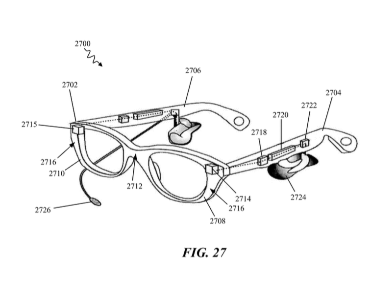
PatentThe invention will enhance protection of radiation workers, such as radiologists. Those who work in radiation fields are at increased risk to develop cataracts, cancer, and other radiation effects. Our device accurately measures, records, and reports exposure to the user in real time, thereby providing the information needed to limit exposures to safe levels.

Read more